找回密码
 请使用中文注册

用TDA2822M制作小功率有源音箱

2023-5-26 16:39| 发布者: 开心| 查看: 42| 评论: 0

阅读字号:

摘要: TDA2822M是意法半导体(ST)早期专门为便携式录放音设备开发的双声道音频功放集成电路,具有低交越失真和低静态电流的特点,可工作于双声道立体声或单声道桥式放大(BTL)模式。TDA2822M工作电 ...
    TDA2822M是意法半导体(ST)早期专门为便携式录放音设备开发的双声道音频功放集成电路,具有低交越失真和低静态电流的特点,可工作于双声道立体声或单声道桥式放大(BTL)模式。TDA2822M工作电压范围很宽,在1.8V-15V范围内均可正常工作。
    TDA2822M是一片非常经典的优秀音频功率放大集成电路,20世纪90年代初曾经被国内外家电厂商广泛用于便携式收录机中,在一些功率稍大的,尤其是带有机身扬声器的随身听中也可以经常看到TDA2822M的身影。
    TDA2822M的标称输出功率(1KHz,8Ω,9V,10%总失真)立体声方式时可以达到1W,桥接方式时可以达到2W。
TDA2822M的其他技术指标如下:
最大峰值电流(PeakOutputCurrent):1A;
静态电流(QuiescentDrainCurrent):≤9mAVcc=3V);
总谐波失真(1kHz,8Ω~32Ω,典型值):0.2%;
闭环增益(典型值):39dB;
声道不平衡度(立体声状态,最大值):±1dB!
声道分离度(1kHz,立体声状态,典型值):50dB;
输入阻抗(1kHz,最小值):100kΩ;
负载范围:≥4Ω。
    TDA2822M价格便宜,不过购买时最好是买TDA开头的,最好是意法半导体原装的,不要买D开头的,也不要买TDA2822(即结尾没有“M”的)。前者音质不好,后者供电电压范围窄,有DIP16封装的,比较少见,音质未见评论。
    实际制作中多采用桥接方式,可以省去两个容易影响音质的输出电容,图1是一个声道的电路图,实际制作中需要两套这样的电路。TDA2822M可以采用直耦方式工作,前提是输入信号不能带直流成分,否则在音源输入端应加上耦合电容。
    在第一次上电时先不要接扬声器,用万用表测一下输出端(1脚与3脚之间),如果在毫伏级别就可以放心使用了,否则最好在输入端(7脚)接入一个1uF的高品质电容,如CBB电容,当然,电解电容也可以。测量的时候注意万用表的挡位应该由大向小调,不要一下子放在最低挡以免烧坏仪表。

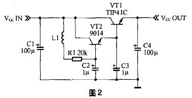
     图1所示的放大器是针对MP3播放器的,所以7脚的输入电阻选用了820Ω,而不是典型的10kΩ,因为MP3播放器的输出负载一般是32Ω的耳机,虽然采用为32Ω的电阻可能比较好,不过这样MP3播放器就会比较费电,而且这个功放就很难使用其他音源了。    实际制作时可以直接采用实验板,有条件的采用印制电路板更好。采用自制印制电路板时由于元器件比较少,可以不用钻孔,将元器件直接焊接在铜箔面,即所谓的“壅根焊”。阻容元件将引脚适当剪短,TDA2822M沿下沿剪齐,平放好焊接即可。    如果有条件,图1中5脚的电容C2最好采用CBB电容,可以改善音质。实际试听中可以试着把1、3脚的电阻R2、R3和电容C4、C5去掉,如果听感没有区别,功放也不自激,也是可以的。直观的判断方法是:自激时,IC【温度wd】相比之下有很大提高。    由于TDA2822M的供电范围很宽,音质很好,这个放大器完全可以用于电脑多媒体功放,听感上不亚于一两百元的产品。    整个电路采用单独的变压器供电,6V~9V的都可以用。滤波和稳压可以采用常见的有源滤波电路或者采用三端稳压器,以提高信噪比,这里推荐一种比较有特色的,如图2所示。该电路与我们通常见到的电子滤波电路不同的地方主要是在三极管的基极加入了电感线圈,从而达到用小功率、小感量的电感来达到理想的滤波效果。该电路可以很好地滤除工频dianyuan电源中的交流声。 
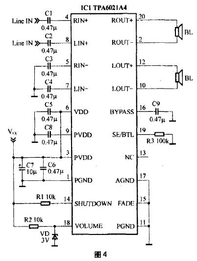
     图2中的VT1也可以采用2SC3074、2SD14092SD882等2A以上的中功率管。VT1、VT2基极的电容C2、C3采用近似容量的CBB电容,效果会更好。电感L1可以自制,用Φ0.15mm左右的漆包线在100kΩ的电阻上乱绕200匝即可,也可以用收音机上中周的一个绕组代替,也可以采用330uH以上的色码电感。二.其他几种集成功放    如果你觉得TDA2822M太老了,不够新潮,也可以采用各公司新推出的针对平板显示设备(平板显示器、平板电视机等)和笔记本电脑的音频集成电路来打造有源音箱。    这些器件多采用4.5V~5.5V供电,用集成的桥接方式(BTL)向低至3Ω的负载提供1W以上的功率,有的还集成耳机放大器,针对近声场模式,大多具有很高的dianyuan电源纹波抑制能力和共模噪声抑制能力,有的还具备比较高的射频噪声抑制能力,以避免听音乐时如果有手机来电会昕到烦人的“喀嚓声”。这里笔者举几个做过简单实验的例子,供参考。1、TPA6021A4    这是TI(德州仪器)针对笔记本电脑、平板监视器推出的桥接方式的立体声音频放大器,集成独立的耳机放大器和32级直流音量控制器,4.5V~5.5V的供电,可以向4Ω负载提供2W的功率,DIP封装适合于用实验板安装。TPA6021A4支持的是平衡/不平衡输入,这里使用的不平衡输入方式,音量控制略去不用,固定为约10dB的增益,待机功能也关闭不用,耳机方式也去掉未用。    TPA6021A4和TPA2008D2、TPA6011A4、TPA6030A4是同系列的产品.不过TPA6021A4是双列直插封装,更便于试验条件下的安装。图4是典型应用图。 
     TPA6021A4集成了输入电阻,同样可以和C1(C2)组成高通滤波器,计算公式为2.2/C1,C1的单位用uF,计算出来的截止频率的单位是Hz,图4中,约为5Hz。    如果在使用中TPA6021A4发烫,应考虑在其上加一个小的散热片,如果使用印制电路板可以设计大面积的地并镀锡来解决散热问题。2、LM4991    这是国半(NationalSemiconductor)针对笔记本电脑、平板监视器、PDA推出的桥接方式的单通道音频放大器,具备待机模式,只消耗0.1uA(典型值)待机电流,2.2V~5.5V供电,可以向3Ω负载提供3W的功率,SOP(扁平)封装,组建立体声系统需要两块集成电路。图5是其典型应用图。 
     图5中,R1和R2决定了放大器的增益,一般通过调整R2来调整增益,计算公式为:2×(R2/R1),单位是dB。C1和R1组成了一个高通滤波器,决定了放大器输入的音频信号的下限,计算公式为:1/(2πR1C1),单位是Hz,注意计算的时候C1单位要用F而不是uF。按图中数值计算,增益为10dB,信号的下限约为20Hz。    图5中,为了提高音质,R1、R2尽量选用低噪音高精度电阻,C1、C2选用CBB电容比较好,尤其是C1,最好用音频专用型的。C3推荐使用钽电容,如果没有,可以用一个10uF的铝电解电容和一个0.47F的CBB电容代替。3、MAX9710    MAX9710是MAXIM面向笔记本电脑、平板电视机和平板显示器推出的桥式输出立体声音频功放集成电路,TTCL HD+N以1%计可向3Ω负载提供3W功率,具有低失真(典型值仅为0.01%)和高dianyuan电源抑制比(PSRR,典型值为100dB)、高信噪比(SNR,典型值为95dB)的特点,带有待机和“使能”端子,符合PC99/01规范。MAX9710还有单声道版本MAX9711,以供设计者灵活选用。图6是其应用电路图,图中没有使用待机和“使能”端。 

路过

雷人

握手

鲜花

鸡蛋

最新评论

QQ|Archiver|手机版|家电维修论坛 ( 蜀ICP备19011473号-4 川公网安备51102502000164号 )

GMT+8, 2025-11-21 07:05 , Processed in 0.178413 second(s), 17 queries .

Powered by Discuz! X3.5

© 2001-2025 Discuz! Team.

返回顶部