找回密码
 请使用中文注册

开关电源快修

2023-5-13 21:06| 发布者: 开心| 查看: 26| 评论: 0

阅读字号:

摘要: ! 熟悉电路是检修,本文由家电维修杂志论坛http://www.jdwx.cn/收集资料的第一步 开关dianyuan电源种类繁多,有些dianyuan电源电路较为复杂,加上又是一个闭环自动控制系统,电路中一旦有元件损坏或者不 ...
    !          
熟悉电路是检修,本文由家电维修杂志论坛http://www.jdwx.cn/收集资料的第一步

    开关dianyuan电源种类繁多,有些dianyuan电源电路较为复杂,加上又是一个闭环自动控制系统,电路中一旦有元件损坏或者不良,将会牵涉dianyuan电源本身及受它供电的电路。由于这一特点,通电状态下一般是不能开环进行检修,本文由家电维修杂志论坛http://www.jdwx.cn/收集资料的,这不仅会破坏电路的闭环状态,还会使电路失控,输出电压升高,造成严重的后果;逐一拆下元件进行检查也不是好办法,不仅费时费力,还会损坏电路板。因此,检修,本文由家电维修杂志论坛http://www.jdwx.cn/收集资料开关dianyuan电源首先就要熟悉电路,根据原理分析出各元件的作用,再有针对性地进行判断;在此基础上,采用合适的检查手段或元件替换方法,对电压、电流、在路电阻和波形进行测量与比较,根据电路中元件相互之间的依存关系和因果关系进行推理和逻辑判断,找出【故障】可能的部位再进行更换。
怎样熟悉电路?

     一是认真阅读电路图图纸;
    二是打开机器弄清楚元器件分布情况。阅读电路图图纸是维修人员的基本功,能否正确识读和分析电路是家电维修人员能否迅速排除【故障】的关键。对于开关dianyuan电源,掌握一些常规电路及辅助电路的特征很有必要。常规电路如:启动电路,自供电电路,正反馈电路,取样比较电路等;常见的辅助电路有:过压,欠压,过流保护电路,待机控制电路等。为了适应更宽的市电范围,有些电路还增设了低电压扩展电路,较好的解决了市电电压过低时开关管欠饱和,高电压下过激励的现象;在采用集成电路的开关dianyuan电源中,许多新型芯片层出不穷,这更需要家电维修人员不断地收集资料,熟悉其工作原理。笔者认为,在熟悉电路原理上下功夫可以收到事半功倍的效果。
    对电路的熟悉过程实际上是一个阅读分析过程,而阅读分析电路图需要掌握一定的基础知识,还要掌握一定的方法和技巧;对于不懂的基本电路,应当单独画出来进行分析;对于不清楚的元件应当查阅资料,或者根据元件在电路中的作用来确定;元件在电路板上的走向与电路图图纸有差别,笔者对于复杂的电路,检修,本文由家电维修杂志论坛http://www.jdwx.cn/收集资料前往往用红色油性记号笔对重要的位置或测量点做上标记,这对快速和成功检修,本文由家电维修杂志论坛http://www.jdwx.cn/收集资料是很有帮助的。

元器件的在路测量
    检修,本文由家电维修杂志论坛http://www.jdwx.cn/收集资料时不可能将元件全部拆下测量,因此在路测量一些元件的电阻、电压或者波形是检查的第一步。
1.电阻
    对于不能通电的电视机,首先应该测量开关管对地电阻和行管对地电阻。在路测量电阻要掌握合适的方法,万用表应采用低阻挡,这是因为像开关管行管击穿后,在路电阻一般较小。
    另外,元件在电路中不可避免的与其他元件并联,所测zuzhi阻值总是小于其本身;如果并联有非线性元件,如二极管或三极管,还需要调换表笔的极性测量;对于小zuzhi阻值电阻,用万用表的低阻挡不难判断,这类电阻测量结果基本为标称值或者稍小一点;对于zuzhi阻值稍大的电阻,选用合适的量程测量判断,读数总是小于它本身。如果熟悉电路,并且清楚待测元件与其他元件并串联关系,经过估算,也不难知道其大致zuzhi阻值;zuzhi阻值较大的电阻,不能通电时可以拆下测量,如果可以通电测量其电压降也是能够判断的。
2.电容
    电容的在路测量目前还没有简便直观的办法,但在能够通电的情况下,测量其两端电压还是有效的,这种办法特别适合储能电容的判断;对于此法不能确定其好坏的电容,特别是电解电容,其性能往往与其所加脉冲或直流电压有关,如果用万用表或者简单的数字电容表判断,很多时候不能奏效,最好采用代换或者电容电桥测量判断。
3.电感
    电路中的电感在不需要了解电感量的情况下,万用表一般都能测量,开关dianyuan电源电路中一般对电感的要求不十分严格,但有时遇到不能起振的情况,可能与开关变压器短路有关,万用表测量只能凭借经验,往往不能奏效,准确的办法就是降低输入电压,把开关管与变压器临时组成自激振荡器,看看是否能够起振,作这种测试时,市电电压一般几十伏就能满足,千万不要在正常市电输入时进行这种测试,以免控制电路失常致使输出电压升高而带来新的【故障】。
4.晶体管
    电路中的三极管,二极管和稳压管,由于部有PN结,用低阻挡测量其是否具有单向性能可以大致判断其好坏,对于反向电阻,如果耐压要求较高,应当拆下来测量。
    元件的在路电阻测量在实际使用中也有一定的局限性,这需要操作者熟悉复杂电路串并联的规律,熟悉线性元件与非线性元件串并联的特点,还要在实践中不断总结,但在大多数情况下,这种测量还是可以找出部分损坏元件的。
    如果电路能够通电,测量电压及波形是检修,本文由家电维修杂志论坛http://www.jdwx.cn/收集资料的主要手段,测量直流电压或工频电压一般维修人员部可以做刮.似波形的删量受条件限制,许多人员不能做到,这是一件很遗憾的事情。建议维修人员采用指针万用表的分贝挡或交流电压挡串接隔直电容进行操作,由于这些信号都是脉冲,万用表只能定性估计。采用峰值电压测试法可以知道脉冲的峰值,但脉冲的形状无法得知。有些维修人员喜欢割断电路进行电流测量,这是一种不良的习惯,不仅破坏电路结构,在开关dianyuan电源的检修,本文由家电维修杂志论坛http://www.jdwx.cn/收集资料中,由于电路的闭环特性,断开电路是非常危险的。电流和电压是互为关联的,测量电压之后只要经过简单的计算就能确定。电路图图纸上有些地方标注的电压一般只能作为参考,这是因为电路或元件的离散性会使一些测量点的电压值有所偏差,万用表的内阻不同也会产生偏差,加之部分测试点电压中含有脉冲成分,不同的万用表测试结果也会不同,这在测试时需要注意。

  假负载及降压检修,本文由家电维修杂志论坛http://www.jdwx.cn/收集资料法

  开关dianyuan电源正常与否直接影响其他电路,单i虫检修,本文由家电维修杂志论坛http://www.jdwx.cn/收集资料也是一种好办法。有些dianyuan电源不能空载,有时候又需要
检查dianyuan电源的带载情况,于是,采用假负载的方法得到了广泛的应用。需要指出的是,大多数人习惯采用灯泡作假负载,由于灯泡冷态时zuzhi阻值较小,开机时冲击电流较大,对于极少数开关dianyuan电源的【故障】判断不利。
编者注:当遇到开关dianyuan电源输出电压偏低,难以区分是dianyuan电源【故障】还是负载【故障】时;或dianyuan电源输出电压可能过高时,应使用假负载法进行检修,本文由家电维修杂志论坛http://www.jdwx.cn/收集资料。

  自激式开关dianyuan电源一般不允许断开主电压(+102V一+145V)进行检修,本文由家电维修杂志论坛http://www.jdwx.cn/收集资料。
在实际维修中常用白炽灯泡作假负载,这是一种最简单、最适用的方法。25英寸以下彩电开关dianyuan电源常
选用60w灯泡作假负载;25英寸及以上尺寸彩电开关dianyuan电源常选用100w灯泡作假负载。

  1.用白炽灯泡作假负载,可通过它的发光亮度,快速判断dianyuan电源负载输出电压的高低,并迅速采取行动.不至于因dianyuan电源电路失控输出电压过高而损坏相关元器件。

  2.灯泡的冷态电阻对大多数开关dianyuan电源的正常工作不会有影响,这是因为开关dianyuan电源次级各整流支路均接有大滤波电容,在dianyuan电源启动工作瞬间,各滤波电容充电,开关dianyuan电源启动瞬间能输出较大电流。

  3.对于少数因灯泡冷态电阻过小而不能进入正常工作状态的开关dianyuan电源,可用15W灯泡作假负载,或先将灯泡插在220V市电上让其发光一会儿,再迅速拆下焊到电路板上主电压输出与地之间。
建议采用大功率电阻或者功率合适的电烙铁,把假负载与电压表做成一个整体,以便观察输出电压,还可以附加过压保护电路,当输出电压过高时切断市电。这里给出一种具有保护功能的假债载电路图,如图1所示。 



  读者根据具体元件确定电路中的元件【存储器数据】。从图中不难理解,当+B输出过高,且R1与R2分压达到SCR的触发电压时,scR导通,继电器动作,切断市电。

  降低市电电压进行检修,本文由家电维修杂志论坛http://www.jdwx.cn/收集资料是保护电路元件不受损的有效办法,采用自耦调压变压器是最好的选择,这种调压器可以从零伏起调,且调节平滑,在电路通电状态下也可以操作。自耦调压变压器完全可以自制,抽头设置应能使输出电压调节范围在50V~130V之间,这是因为一般的开关dianyuan电源在控制环路失控的情况下,输入几十伏市电就能产生振荡,并且可以出接近正常值的+B电压,此时如果市电稍微增高,+B会急剧上升,需要予以注意。笔者对不同的dianyuan电源进行过试验,许多电路在控制环路不起作用的时候,市电电压在80V左右时输出的+B电压就达到正常值,一旦超过80V,+B电压可能会大幅上升。

  笔者的实践表明,对于控制环路失控的dianyuan电源,采用自耦调压器最好将市电从OV起调,用示波器监视波形,万用表监视+B电压,逐渐升高市电电压,+B电压从无到有,当市电升高到某一个临界值的时候,+B电压很快上升,此时市电电压稍微升高,+B电压会急剧上升。这个临界电压为多少事先无法确定,不同的电路、不同【故障】原因其值不相同。因此采用自耦变压器逐步调高输入电压对于安全检修,本文由家电维修杂志论坛http://www.jdwx.cn/收集资料开关dianyuan电源非常有利。

  在合适的低电压下通电,如果电路不能建立振荡,通过测量滤波电容,开关管的c、e极电压仍可以进 行一些粗略的判断。滤波电容失效和容量减少,其两端建立的直流电压与交流电压有一定的规律,一般情况下,直流电压应为交流电压的1.3倍左右,如果测量电压偏低,可以并联电容一试;如果开关管c极无电压,说明从整流电路至开关管的支路中存在开路;如果开关管b极无电压,可能是启动电路失效或开关管be结击穿;如果b极电压很高,e极电压与b极相同,可能是开关管击穿(其发射极限流电阻一般小,开机瞬间电路分取电压过多,对于存在【故障】的机器,也许就在这一瞬间重新损坏;同时这种方式在实际使用中,电路获得的实际电压将会与电路的状况有关,将会影响测量结果的可信度;调压器内阻很小,且电压精细可调,可获得不同电压的稳定输出,采用灯泡串联降压是很难做到这一点的;对于步进调压器,步进跨度不宜太大,以避免出现死点,即出现电压低了电路不能工作,升高一挡又失控的局面,难以找到一个能够创造检修,本文由家电维修杂志论坛http://www.jdwx.cn/收集资料条件的合适电压。 

  编者注:变压器降压法修开关dianyuan电源,常用于门市部坐修。尽管在AC220vdianyuan电源输入中串接灯泡(100W~200W)进行降压有一定的局限性,但在上门维修中仍可采用。
  辅助dianyuan电源检修,本文由家电维修杂志论坛http://www.jdwx.cn/收集资料法

  这种方法是不给电视机通市电,采用外接直流dianyuan电源对开关dianyuan电源中的局部电路进行检查。这需要操作者对相应的电路有清晰的了解,所加电压最好与该电路正常工作电压等值,这样就可以使该电路进入工作状态,再通过测量电压或者波形等来判断电路的工作状态。这种操作需要收到其他维修同行的一台可调的稳压dianyuan电源,如果配合示波器效果更好。
  现行的开关dianyuan电源采用集成电路控制的逐渐增多,操作人员应当清楚元件的有关参数,特别是启动端的供电电压范围、过流过压保护端的起控值,许多芯片供电电压有上下两个门限值,电压过低过高时电路均不能工作。在低市电输入情况下,一些集成电路可能无法从dianyuan电源获取正常的启动电压不能起振,采用外接dianyuan电源就可以较好的解决这一问题。
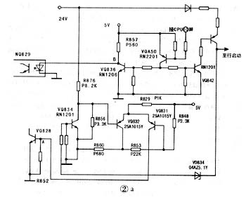
如图2a所示

  用一个5v和30v电压可调的dianyuan电源就能判断双稳态触发器是否正常工作。人为改变24V端子上接的电压,降低至8v左右,测量图中A点的电压,再调到1lV左右,正常时A点电压应发生变化。对于图中待机控制电路的模拟检查,读者可自行分析。做这种检查时,应将电路中影响测试结果的其他电路暂时断开,使被测电路成为一个单独的整体。

  TEA2261开关dianyuan电源部分电路如图2b所示

  图中PR是附加的电位器,用外接dianyuan电源给芯片加12v电压,测量各脚的电压是否正常,⑩脚是否有锯齿波,(14)脚的脉冲是否正常,改变PR,看看(14)脚的驱动脉冲宽度是否变化。对于使用示波器的人员,这种测试判断是非常准确的,采用万用表的交流电压挡或者分贝测试挡测量⑩脚和(14)脚的脉冲也是可以判断的,实践中注意积累经验,因为这种测量是定性的,没有示波器直观。   元件的检测和代换

  家电维修或者电子电路试验时,能否准确知道元件的主要参数是十分重要的。万用表对一些元件的测试往往是定性的,在许多情况下需依赖经验,这要求操作者不断的积累;一些资料上提供的【存储器数据】不能照抄,对于非线性元件,离散性很大。开关dianyuan电源中,集成电路、光电耦合器、基准dianyuan电源、三极管与二极管的测试是经常要遇到的,仅用万用表测量电阻一般难以准确确定,一是因为这些元件的非线性使得不同电表或者同一电表不同测试挡级也会显示不同的结果,二是无法模拟元件在电路中实际工作条件。根据笔者的实践,介绍几种方法供参考。
  自己制作一些测试附件是必要的,这对于维修人员来说并不困难,花费也不大。测试这些元件主要是制作收到其他维修同行的一台能够产生几伏乃至数干伏的dianyuan电源,输出电压要求稳定,使用时可以任意调节。整个dianyuan电源可以由收到其他维修同行的一台低压直流稳压器和高压发生器组成,如图3所示。

  对于低压直流,采用三端可调集成电路如LM317之类的元件可以十分简单地制作收到其他维修同行的一台能在1.5V~30V的直流稳压dianyuan电源,200V、1000V,2000V由高压发生器获得,采用工频dianyuan电源不安全,制作难度相对较大,体积也无法减小。高压发生器可以用袖珍电视机的行输出制作,振荡电路直接采用行振荡电路。这种dianyuan电源的内阻大,不怕短路,也不容易伤人,具体输出电压可以由器件决定,上面所说的【存储器数据】只是一种规范,能够满足常用元件的要求就行了。
     图4中提供了四种测试方案。
 

 

  图4a是测量光电耦合器的电路,调节RPl,测量AB两点间的电压,其电压变化大小表明了器件的好坏与质量,检修,本文由家电维修杂志论坛http://www.jdwx.cn/收集资料原理读者可以自己分析;图4b用来测试击穿电压,测试电压应根据具体元件选定,R用于限流,取值应根据测试元件不同而改变,要求短路AB两点之后,所通过的电流在1mA~5mA之内,如果测量稳压管,这个电流可以在5mA~10mA之内选取。图中元件【存储器数据】是用来测试行管或开关管的,为了获得较小的误差,万用表的内阻要大于限流电阻的十倍;图4c用于测量三极管的饱和压降,对于要求输出较大功率或大电流的三极管,这个参数很重要。测试原理就是在一定的集电极电流时,改变基极电流直到三极管饱和,即集电极电压不再下降,此时的集电极压降可以认为是该集电极电流状态下的饱和压降。测试电路中连接的电阻应根据具体要求选定,图中是按集电极电流1A左右设计的,基极电流从18mA~110mA,可适应直流放大倍数在10~55倍之间的大功率三极管;开关dianyuan电源中使用的诸如SEll5之类的误差比较电路,可用图4d提供的电路准确测量,改变电路中的可调电位器,AB两点的电压应发生变化,否则此IC损坏。

  检修,本文由家电维修杂志论坛http://www.jdwx.cn/收集资料或进行电子电路试验时,有收到其他维修同行的一台可调稳压器可以帮助我们解决许多问题,上述元件的测量方法有一个共同点,就是模拟实际工作状况。根据电路或者元件的工作原理组成基本电路对元件进行测量,这也是许多正规仪器采用的方法,这里仅仅是一种简化。对于其他没有列举的元件,读者可以自行分析。前面已经讲过,在电视机开关dianyuan电源不通电的情况下,对相应的电路用外接dianyuan电源进行在路删量,与辅助dianyuan电源检修,本文由家电维修杂志论坛http://www.jdwx.cn/收集资料法有相似之处。

  开关dianyuan电源在家电维修中比例较大,能否快速准确检修,本文由家电维修杂志论坛http://www.jdwx.cn/收集资料好直接影响从业人员的经济效益。一些维修人员由于自身的原因或条件的限制,往往乐于更换市场上出售的所谓开关dianyuan电源模块,这是不宜推荐的。目前的市售模块质量并不能令人满意,检修,本文由家电维修杂志论坛http://www.jdwx.cn/收集资料之后还会留下许多隐患,大大降低原机的性能指标。作为一个维修人员,应该打好基本功,掌握电路原理,进行必要的实践,对于检修,本文由家电维修杂志论坛http://www.jdwx.cn/收集资料绝大多数开关dianyuan电源【故障】应当是不难的。                               友情提示,本文章源自互联网收集,欢迎你到论坛与大家技术交流请点击这里 www.jdwx.cn

路过

雷人

握手

鲜花

鸡蛋

最新评论

QQ|Archiver|手机版|家电维修论坛 ( 蜀ICP备19011473号-4 川公网安备51102502000164号 )

GMT+8, 2025-11-23 23:11 , Processed in 0.185265 second(s), 16 queries .

Powered by Discuz! X3.5

© 2001-2025 Discuz! Team.

返回顶部