找回密码
 请使用中文注册

TP-LINK TL-WR842+ 无线路由器映射服务器到外网

2023-5-13 20:46| 发布者: 开心| 查看: 29| 评论: 0

阅读字号:

摘要: 第一步:确认服务器搭建成功设置虚拟服务器之前,需要确认以下几点:【1】服务器为手动指定IP地址(或IP地址不会动态变化)。【2】局域网内的客户端电脑可以访问对应服务器开放的服务。第二步:添加虚拟服务器规则1、 ...
    

第一步:确认服务器搭建成功
设置虚拟服务器之前,需要确认以下几点:
【1】服务器为手动指定IP地址(或IP地址不会动态变化)。
【2】局域网内的客户端电脑可以访问对应服务器开放的服务。
第二步:添加虚拟服务器规则
1、进入设置界面
登录路由器管理界面,点击 高级设置,如下图:

点击 高级用户 >> 虚拟服务器,如下图:

2、添加虚拟服务器规则
点击 添加,如下图:

添加网页服务器:
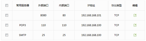
对外开放端口为8080,内部端口为服务器真实端口80,点击 保存,如下图:

注意:外网用户访问服务器的时候使用外部端口,该端口可以与内部端口一致。
添加邮件服务器:
邮件服务器使用SMTP(25)、POP3(110),需要添加两条规则,如下图:

注意:由于该服务的特殊性,邮件服务中外部端口与内部端口需保持一致。
按照同样的方式添加POP3的映射。
添加完成后,规则类表如下:

第三步:确认映射成功
根据以上设置,Internet中的邮件客户端软件访问121.202.33.100,即可访问到邮件服务器。通过浏览器访问网页服务器,访问形式如下:

注意:具体的访问形式以实际服务器要求为准。
如果您的宽带并非静态IP地址,可以在 动态DNS 中申请域名账号并在路由器中登录该账号,登录后使用域名和开放的端口号访问服务器。

路过

雷人

握手

鲜花

鸡蛋

最新评论

QQ|Archiver|手机版|家电维修论坛 ( 蜀ICP备19011473号-4 川公网安备51102502000164号 )

GMT+8, 2025-11-10 08:15 , Processed in 0.193040 second(s), 17 queries .

Powered by Discuz! X3.5

© 2001-2025 Discuz! Team.

返回顶部