找回密码
 请使用中文注册

奇声AV-737功放电路简析与维修

2023-5-5 11:22| 发布者: 开心| 查看: 34| 评论: 0

阅读字号:

摘要: 奇声(Qisheng)AV-737是带杜比定向逻辑环绕声的功率放大器,功能齐全,能与其他影音器材搭配,组合成较高档次的家庭影院,在市场上有较高的占有率。同类产品有AV-757、AV-767等型号。 一、电路原理筒析 AV-73 ...
    奇声(Qisheng)AV-737是带杜比定向逻辑环绕声的功率放大器,功能齐全,能与其他影音器材搭配,组合成较高档次的家庭影院,在市场上有较高的占有率。同类产品有AV-757、AV-767等型号。 
  

  一、电路原理筒析
  AV-737功率放大器,由音源选择电路、杜比定向逻辑环绕声系统、卡拉OK电路、电控均衡电路、功率放大电路、电源电路、保护电路等组成。图1是其方框图。
  
 
  1.音源输入选择电路。本机的音源选择电路与传统的机械选择电路不同,其原理见图2。
  
 
  音源的选择是由输入矩阵电路输入用户指令,经微机(CPU)9800编码处理后输出控制数据流,通过三态八个一级移位寄存器与四个二极管简易组合,控制双四通道模拟开关MC4052来实现,具有简单可靠、接触电阻小、无噪声、寿命长等优点。 
   2.卡拉OK电路。
  
 
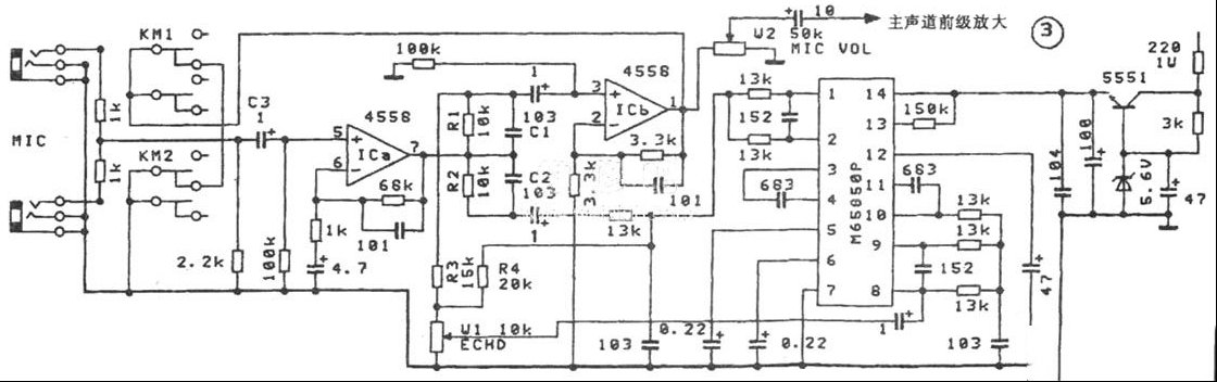
  卡拉OK电路见图3,主要以数码回声混响电路M65850P为核心。两路话筒信号分别经1k电阻后相加,由c3耦合到电压放大器IC1a的⑤脚,放大后由⑦脚输出:一路经R1、c1加至缓冲放大器IC1b的③脚;另一路经R2、C2加至数码回声混响IC(M65850P)的①脚,输入到M65850P,由内部电路数化处理后,延迟信号由其⑧脚输出。经混响电位器W1后分成二路:一路经R4重新输出到M65850P的①脚,形成多次延时效果;另一路一次和多次延时混合信号,经R3在IC1b的③脚与直通信号相加输入缓冲放大器IC1b放大后。从①脚输出,再经音量电位器加至主声道的前置放大级。调节w1可改变卡拉OK的混响深度,调节W2可控制卡拉OK与原音乐的信号比。 
    KM是话筒输入插座自带的一组串联开关,当任一话筒插入后,开关自动断开,避免信号短路到地。当话筒不插入时,开关把缓冲级IC1b的①脚与地短接,防止卡拉OK电路部分的杂波(噪声)干扰主声道的正常工作。 
    3.杜比定向逻辑环绕电路。杜比定向逻辑环绕系统,主要由杜比定向逻辑解码Ic(M69032P)与数码延时器BA5096组成,左、右声道信号分别从L-IN、R-IN端输入到M69032P的15、22脚。由于该Ic的最佳输入电平为300—500mV,故在其输入端加了一个6dB的RC衰减器。经解码处理后的L、R主声道信号从32、33脚输出。分别经1k电阻加到后面的电控均衡电路,c、s声道信号从38、29脚输出,经1uF电容耦合,分别加至电压放大器。 
    外接数码延时电路采用BA5096(同类品YSS228可直接代换),也可以选用M50194、M50197、M65830、M65813等数码延时Ic。输入信号取自M69032P的39脚,经延时后送回M69032P的47脚进行7kHz低通滤波。延迟时间由BA5096的⑥脚外接电阻控制。为了确保原始环绕声场的准确性,延时电路与一般卡拉OK延时处理不同,输入、输出端之间不设反馈电路(即只具备一次延时)。 
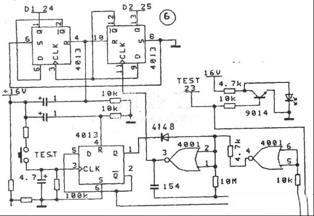
    M69032P内部噪声发生器的开关及检测顺序由23-25脚的电平控制。控制电路由两块双D触发器CD4013和一块或非门(CD4001)组成。噪声信号可用来检测各声道的音量大小。 
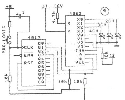
    M69032P的工作方式由31脚的电平控制。31脚接VREF,悬空和接地时,对应的工作状态分别为杜比四声道、杜比三声道和二声道(L、R直通)。控制电路由CD4017和CD4052组成,见图4。
 
   中央声道工作模式的转换,是通过一个三位机械开关在M69032P的36脚接入不同宽度脉冲来控制与实现的。当36脚通过0.22uF电容接VREF端,悬空和通过10uF电容接VREF端时,对应的工作模式分别为普通、幻象和宽广状态。接入的电容容量愈大,控制脉冲就愈宽,工作状态也随之变化。 
  
 
    4.均衡电路。均衡电路方框图见图5。主要由放大器IC4、双七段可调均衡MJU7305与三极管等相关元件组成的模拟可变电量网络、七路带通放大和CPU(9800)等组成。输入信号加到IC4放大器的反向端⑥脚,经放大后的均衡信号,一路输入主功率放大器前置级,另一路经七路带通放大器、电平放大器、八选一电路输入CPU(9800),经内部电路处理后驱动显示屏显示。电控均衡是通过CPU(9800)控制电平去调节MJU7305内部变阻器,使可变电量网络的电量发生变化,从而使加到放大器反向端的反馈量随之改变,实现各频段的频率分量的提升或衰减。该均衡电路除了任意自编均衡曲线和选择十四种频谱显示外,CPU内还固化了五种典型的均衡曲线,即“迪斯科”、“摇滚”、“流行”、“爵士”、“古典”曲线供选择。 
  

  二、维修实例 
    1.故障表现为:L、R声道输出不平衡。 
    分析与检修:输入信号,利用示波器,观察比较EQ输出端或音量电位器除。 
    2.故障表现为:放音时S声道小,且失真,启动噪声检测电路,当检测按左、中、右、环绕检测过后,立即退出测试状态(正常情况,应不断地循环检测)。 
    分析与检修:声音小,且失真,说明S声道电路不正常。首先测功放IC(LM1875),前置电压放大器IC(4558)的静态工作电压正常,根据噪声测试电路在测完S声道后立即退出这一现象,怀疑S声道在动态时异常。开机输入信号,检查发现16V供电严重下跌约为8v。动态时电压下跌原因:电源电路有问题;LM1875、4558软击穿。先查电源电路,发现一整流二极管开路,原先的桥式整流方式变成了半波整流方式。静态时,工作电流不大,滤波大电容的充放电电压没什么变化;动态时电流大增,电压下跌严重。这个上下波动电压使s声道工作异常,反馈到噪声测试电路,就使CD4013a触发电路置“1”位,即测试电路退出测试状态,更换新的二极管,开机,工作正常。 
    3.故障表现为:AV737杜比功放,插上电源开机,显示屏不亮。 
    分析与检修:AV737功放显示屏正常显示条件是其CPU(9800)必须具备时钟振荡信号正常;两路5V复位电压正常;显示屏-33V栅压正常;3V(交流)灯丝电压正常。 
    拆开该机检查发现,两路复位电压中的一路不正常,即CPU(9800)30脚无复位电压。经查,30脚外接控制三极管(ec结开路)。换上新三极管,接上电源,开机显示正常。 
    4.故障表现为:噪声测试功能、指示灯均不正常。反复多次按动TEST键,偶尔能触发工作,难以改变其状态。 
    分析与检修:根据故障表现为,可判断输入端的L、R信号大小,确定故障在功放电路还是均衡电路及前面的电路。如没有示波器,可通过调换功放电路输入端的L、R信号,听输出喇叭声音有无变化来确定。若有变化,在均衡及均衡前电路;无变化,则在功放电路。经查,故障出在均衡电路,MJU7305外接三极管,有一路电压异常,发现三极管基极电容严重漏电。该电容漏电,三极管近乎截止,致使L、R声道反馈信号不平衡,从而使L、R声道输出不平衡。更换此电容,故障排指示灯电路和多谐振荡器以后的电路正常。故障在CD4013触发器软性损坏及触发器外围元件异常或损坏。首先,用万用表电压挡检测CD4013的③脚的触发电平,按动TEST键,这时,测试功能、测试指示均正常,有意去掉搭在CD4013③脚与地端的表笔,故障又重新出现,即测试功能、测试指示均失常,重新搭上表笔又正常,去掉又不正常。由此分析,怀疑CD4013的③脚的下拉电阻可能失效开路。该下拉电阻失效开路,使防误动作电容上的电荷因无泻放回路,而始终保持在高电位,致使触发无效,故无法实现指令状态(只处在原始的某种状态)。搭上万用表笔,万用表的自身内阻,刚好充当了该下拉电阻的作用,因而能正常的按指令工作。检查发现该下拉电阻已失效,更换该电阻后开机,工作正常。
  
 
  噪声测试原理图见图6。

路过

雷人

握手

鲜花

鸡蛋

最新评论

QQ|Archiver|手机版|家电维修论坛 ( 蜀ICP备19011473号-4 川公网安备51102502000164号 )

GMT+8, 2025-11-21 23:18 , Processed in 0.170443 second(s), 17 queries .

Powered by Discuz! X3.5

© 2001-2025 Discuz! Team.

返回顶部